
セブンイレブン この10年で最も品質アップ レンジ麺 一新 流通ニュース

おためし新商品ナビ Blog Archive レンチン麵 新スープでレンジでも麺かために セブン イレブン限定 一風堂監修 博多とんこつラーメン の味は
![]()
コンビニ食ダイエット 食物繊維が摂れるセブンイレブンのちゃんぽんとタンメン オヤジのコンビニ食ダイエット 71 おとなの週末

![]()
ごぼう麺 トムヤム風スープ 16g セブンプレミアム公式 セブンプレミアム向上委員会
![]()
二郎系コンビニ麺no 1はどれ セブン ファミマ ローソン マニアが選んだ 最強の一杯 は 全文表示 Jタウンネット

セブンイレブン レンジであったかつゆ 豚骨魚介つけ麺 上越に暮らすtakeさんの忘我混沌な日常

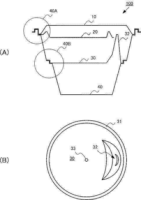
セブンイレブンの麺容器 ぱっと ぱっと ぱっと

セブンイレブンの麺容器 ぱっと ぱっと ぱっと

Ascii Jp セブン ラーメン新容器 温め時間が短く

極太麺 背脂ニンニク セブン イレブン とみ田監修まぜそば を実食レポ 進撃のグルメ Yahoo Japan クリエイターズプログラム

え こんなに変わってたの セブンの 麺容器 がものすごい進化をしてたんだけど
Tags:
Archive